首页 常见问题 资金管理 如何查看未结算的销售单?

如何查看未结算的销售单?

最后更新:2026-02-06 15:49:34

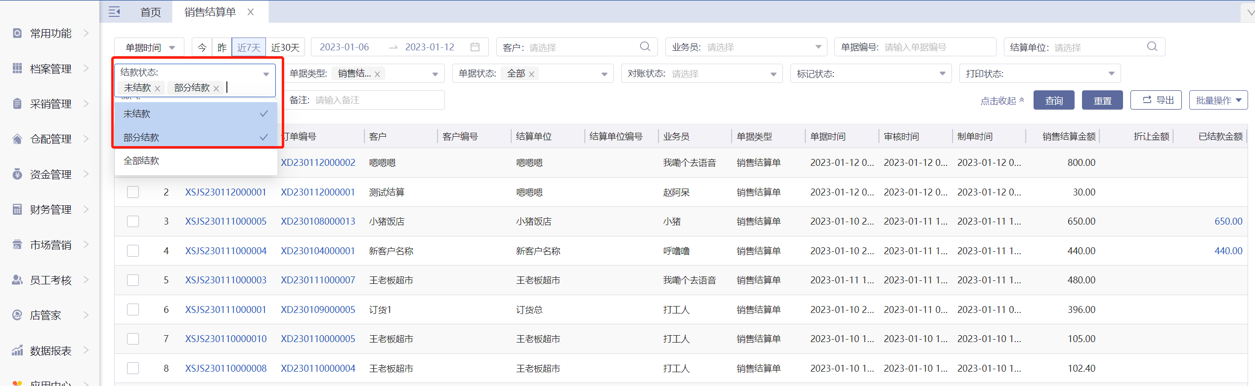
1.可以在资金管理-销售结算单,筛选未结款查询未完成结款的单据哦。

2.在资金管理-客户对账明细表查询

-----------------------------------------我是分割线--------------------------------------

相似问法

在哪能看到未结算的单据?

如何查看哪些单据未付款?



QQ