意见反馈
全部文章
首页
常见问题
采销管理
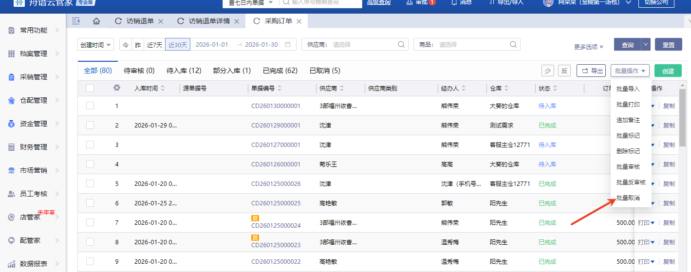
采购订单可以批量取消吗?
帮助视频
新手礼包
系统初始化
价格模块
财务模块
采销管理
仓配管理
资金管理
市场营销
员工考核
数据报表
辅助功能
店团管家
在线支付
客户业务场景合辑
员工交账业务场景合辑
舟易
直播干货合辑
APP操作
TMS(配管家)
特色功能
新手导航
人员提效
行业特色
常见问题
档案管理
采销管理
仓配管理
资金管理
财务管理
市场营销
员工考核
店团管家
数据报表
应用中心
设置
打印
帮助及其他
舟易
云仓
农夫常见问题
TMS(配管家)
收银机(富掌柜)
产品动态
产品更新
功能推荐
业务功能介绍
预订货场景
采购订单可以批量取消吗?
最后更新:2026-01-30 10:29:08
支持。
这篇文章对你有帮助吗?
QQ
QQ扫一扫联系
点击联系
4006980600